|
|
|
|
Запасные части и кодировка
ЦЕПЬ ДАВЛЕНИЯ компрессоров МСН-3 - МСН-5

|
|
|
1 |
2 |
3 |
|
|
|
4,5,6 |
5,6,7 |
5,6 |
|
|
|
8 |
9 |
10 |
|
|
|
11 |
12,13 |
14 |
|
|
|
15 |
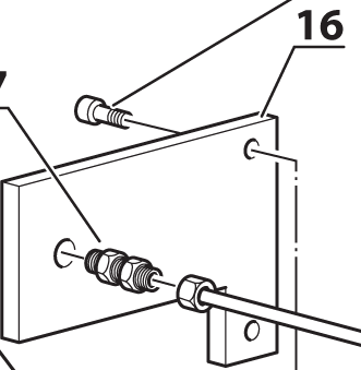
16 |
17 |
|
|
|
|
18 |
|
№ |
КОД |
НАЗВАНИЕ |
| 1 |
VITE0620 |
крепежный винт |
| 2 |
13-00-0083 |
крепежная пластина |
| 3 |
VITE0640 |
крепежный винт |
| 4 |
13-00-0198/CNG |
фиксировочная крепежная пластина |
| 5 |
13-00-0087 |
крепежный винт |
| 6 |
13-00-0137 |
крепежная гайка |
| 7 |
13-00-0199/CNG |
фиксировочная крепежная пластина |
| 8 |
05-00-0089 |
охлаждающая трубка 1-й стадии |
| 9 |
05-00-0085 |
охлаждающая трубка 2-й стадии |
| 10 |
VITE0830 |
крепежный винт |
| 11 |
13-00-0133/TR |
крепежная пластина |
| 12 |
13-00-0134/1/1 |
фиксировочная крепежная пластина |
| 13 |
13-00-0136 |
крепежная пластина |
| 14 |
05-03-0023 |
охлаждающая трубка 2-й стадии |
| 15 |
VITE0825E |
крепежный винт |
| 16 |
05-00-013 |
крепежная пластина |
| 17 |
RACC/PASS/7/16/8 |
штуцер |
| 18 |
05-00-0095 |
трубка |

|
.. ..
|
|
|
|
|
|
|