|
|
|
|
Запасные части и кодировка
ЦЕПЬ ДАВЛЕНИЯ компрессора МСН-10 - МСН-14 детали
 No Price-17_cr7.gif)
|
|
|
KIT1 |
KIT2 |
KIT3 |
|
|
|
A |
B |
C |
|
|
|
D |
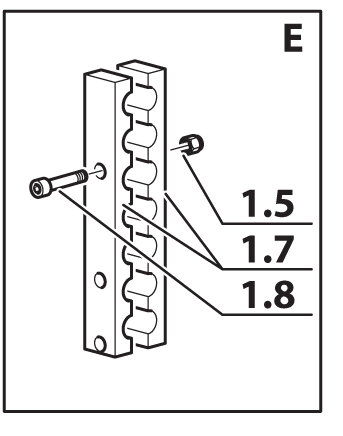
E |
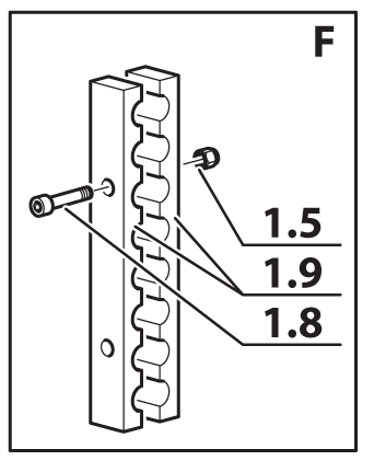
F |
|
|
|
5 |
6 |
7 |
|
|
|
8 |
9 |
10 |
|
|
|
|
KIT4 |
|
№ |
КОД |
НАЗВАНИЕ |
| KIT1 |
13-00-0085/R |
цепь давления 1-й стадии |
| 1.1 |
13-00-0085 |
охлаждающая трубка |
| 1.2 |
13-02-0045E |
штуцер |
| 1.3 |
13-00-0178E |
штуцер |
| 1.4 |
13-00-0083 |
крепежная пластина |
| 1.5 |
13-00-0137 |
крепежная гайка |
| 1.6 |
13-00-0041 |
крепежный винт |
| 1.7 |
13-00-0186 |
фиксировочная крепежная пластина |
| 1.8 |
13-00-0087 |
крепежный винт |
| 1.9 |
13-00-0197 |
фиксировочная крепежная пластина |
|
|
|
| KIT2 |
13-00-0089/R |
цепь давления 2-й стадии |
| 2.1 |
13-00-0089 |
охлаждающая трубка |
| 2.2 |
13-02-0045E |
штуцер |
| 2.3 |
13-00-0026E |
штуцер |
| 2.4 |
13-00-0083 |
крепежная пластина |
| 2.5 |
13-00-0137 |
крепежная гайка |
| 2.6 |
13-00-0041 |
крепежный винт |
| 2.7 |
13-00-0186 |
фиксировочная крепежная пластина |
| 2.8 |
13-00-0087 |
крепежный винт |
| 2.9 |
13-00-0197 |
фиксировочная крепежная пластина |
|
|
|
| KIT3 |
13-03-0023/N/R |
цепь давления 3-й стадии |
| 3.1 |
13-03-0023/N |
охлаждающая трубка |
| 3.2 |
13-00-0174E |
штуцер |
| 3.3 |
13-00-0025E |
штуцер |
| 3.4 |
13-00-0133 |
крепежная пластина |
| 3.5 |
13-00-0134/1 |
фиксировочная крепежная пластина |
| 3.6 |
DADM6AUTBAS |
крепежная гайка |
| 3.7 |
13-00-0087 |
крепежный винт |
| 3.8 |
DA05 DADO |
крепежная гайка |
| 3.9 |
VITE0525Z |
крепежный винт |
| 3.10 |
8 13-00-0134 |
фиксировочная крепежная пластина |
| 3.11 |
2 13-00-0136 |
крепежная пластина |
| 3.12 |
13-00-0135 |
крепежная пластина |
|
|
|
| KIT4 |
13-00-0036/R |
трубка разделителя конденсата |
| 4.1 |
13-00-0036 |
трубка |
| 4.2 |
13-00-0175E |
соединения трубки разделителя |
|
|
|
| 5 |
13-00-0084 |
крепежный винт |
| 6 |
13-00-0075 |
крепежный винт |
| 7 |
13-00-0102 |
крепежная скоба |
| 8 |
13-00-0094/1 |
крепежная пластина |
| 9 |
13-00-0048 |
крепежный винт |
| 10 |
13-00-0018 |
крепежная гайка |

|
.. ..
|
|
|
|
|
|
О компании
ПРАЙС-ЛИСТ (новые цены)
Видео
ФОТО
НАПИШИТЕ НАМ
Региональные представители
СОТРУДНИЧЕСТВО

Официальный представитель


|