ags

 
 

Запасные части и кодировка

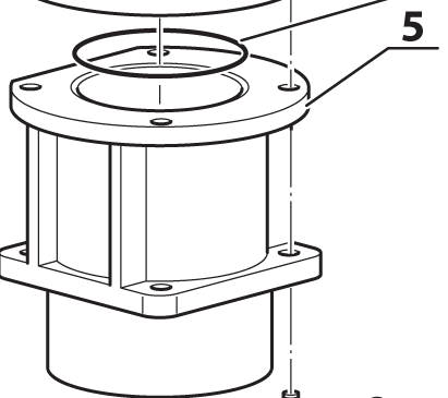
3-я стадия сжатия компрессоров МСН-3 - МСН-5

1
2
3
4
5
6
7
8
9
10
11
12
13
14
15
16
17
18
19
20
21
22
23
24
25
26
27

 

1 13-00-0175E штуцер
2  05-01-0111    втулка поршня 3-й стадии 
3  13-00-0110   стопорное кольцо
4  13-03-0120 поршень 3-й стадии 
5  05-03-0190  корпус толкателя 3-й стадии
6  13-00-0039   уплотнительное кольцо
7  05-02-0017   корпус цилиндра 3-й стадии
8  13-03-0016   крепежный винт  цилиндра
9  13-00-0018   крепежная гайка цилиндра
10  05-01-011   крепежная  пластина головки 3 стадии
11  VITE0820   крепежный винт 
12  13-03-0126   поршень 3-й стадии 
13  13-03-0124  кольца 3-й стадии 
14  13-03-0125  цилиндр 3-й стадии
15  13-03-0123  уплотнительное кольцо
16  13-03-0020  входящий клапан 3-й стадии
17  13-03-0027 клапанная головка 
18  13-03-0029 уплотнительное кольцо
19  13-03-0028 выходящий клапан 3-й стадии
20  13-03-0030 клапанная крышка 
21  13-03-0034 регулирующий винт
22  13-03-0033 уплотнительное кольцо
23  13-00-0032 заглушка регулирующего винта
24  13-00-0031  крепежный винт
25  13-00-0021   фитинг
26  13-00-0019 отводная трубка 
27  13-04-0225  штуцер

 

прайс

 

 

.. ..


Copyright © 2014 ООО Стожары Все права защищены.