Запасные части и кодировка
1-я стадия сжатия компрессоров МСН-3 - МСН-5

|
|
|
KIT1 |
1.1 |
1.2 |
|
|
|
2
|
3 |
3 |
|
|
|
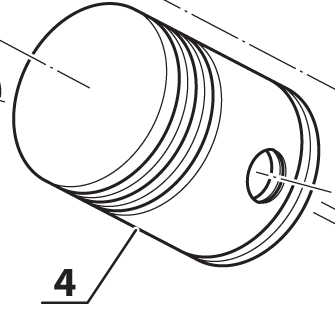
4 |
4 |
6 |
|
|
|
7 |
8 |
9 |
|
|
|
10 |
11 |
12 |
|
|
|
13 |
14 |
15 |
|
|
|
16 |
17 |
18 |
|
|
|
19 |
20 |
21 |
|
|
|
22 |
23 |
24 |
|
|
|
25 |
26 |
27 |
| KIT1 |
05-01-040 |
входящий фильтр в сборе |
| 1.1 |
05-01-040/C |
фильтр |
| 1.2 |
05-01-040/O |
уплотнительное кольцо в сборе |
|
|
|
| 2 |
05-01-0111 |
втулка поршня 1-й стадии |
| 3 |
13-00-0110 |
стопорное кольцо |
| 4 |
05-01-010 |
поршень 1-й стадии |
| 5 |
05-01-0113 |
кольца 1-й стадии |
| 6 |
13-00-0015 |
уплотнительное кольцо |
| 7 |
05-01-002 |
цилиндра 1-й стадии |
| 8 |
13-01-0008 |
крепежный винт цилиндра |
| 9 |
13-00-0018 |
крепежная гайка цилиндра |
| 10 |
05-02-015 |
нижняя прокладка клапана 1-й стадии |
| 11 |
05-01-05 |
клапан 1-й стадии |
| 12 |
05-02-016 |
верхняя прокладка клапана 1-й стадии |
| 13 |
05-01-006 |
клапанная крышка |
| 14 |
RON6Z |
шайба |
| 15 |
13-00-0067 |
крепежный винт крышки |
| 16 |
RACC/E231510L 1/4 NPT |
фитинг |
| 17 |
RACC20701/2 |
фитинг |
| 18 |
05-04-0517 |
фитинг |
| 19 |
RIDUZIONE/E2151004 |
фитинг |
| 20 |
RAC1510-8/6-1/4 |
наконечник разгрузочного шланга |
| 21 |
TUBRILSAN6X4/N/250 |
разгрузочный шланг |
| 22 |
RAC/1/4/T |
фитинг |
| 23 |
SC000492 |
сбрасывающий клапан |
| 24 |
RACC-5-4F640 |
возвратный клапан |
| 25 |
RAC4-4F40MXS |
фитинг |
| 26 |
05-04-0500 |
газовая трубка |
| 27 |
05-04-0520 |
штуцер газовой трубки |
| 28 |
05-04-0600 |
крепежный штуцер фильтра |
